螭虎LCC48 10G 850nm八路接收尾纤可插拔模块
发布时间:2025-03-17 13:35:53
发布者:w66最给力科技
浏览次数:282w66最给力科技的螭虎系列 LCC48 封装的 10G 850nm 八路接收尾纤可插拔模块,专注于微波与光子技术融合应用。
该模块具备 8 路接收并行光纤通道,单通道支持 10.3125Gbps 速率传输,光纤类型可选扁纤、圆纤、散纤等,尾纤可插拔且末端接口可定制,常规推荐 MT 接口(需单独订购)。采用单 3.3V 电源供电,数据差分信号输出为 CML 电平,支持 I2C 串行数据接口通信监控,结构紧凑,实现高密度高容量设计,采用手工焊接方式。
产品等级分为军品工业级(J),工作温度 - 40℃~+85℃;军品扩展工业级(M),工作温度 - 55℃~+85℃。适用于甚短距离高速数据通信连接、服务器与存储器阵列互连、机载雷达等场景,符合 I 类激光安全标准 IEC-60825 和 ROHS 2.0 标准。
其光电特性优异,接收端中心波长 840-860nm,灵敏度≤-10dBm(测试条件:50um OM3 多模光纤,PRBS2 31-1@10.3125Gbps,BER≤1E-12),饱和光功率≥+3dBm,差分输出电压 350-850mVpp,输出阻抗 90-110ohm。电接口引脚包含电源、地、差分信号输出、接收使能、全局信号检测及串行接口等,设计需注意电源滤波、高速信号阻抗匹配等。使用中需关注人眼安全、静电防护、存储环境及焊接操作等要求,确保性能稳定。

w66最给力科技螭虎架构可插拔LCC光模块
产品特性:
8路接收并行光纤通道
支持单通道10.3125Gbps速率传输
扁纤/圆纤/散纤/带弹簧/带导针可选
尾纤可插拔,末端尾纤接口可定制,常规推荐MT接口(尾纤需单独订购)
单3.3V电源供电
数据差分信号输出CML电平
I2C串行数据接口通信监控
紧凑的结构设计,高密度高容量
手工焊接
产品等级:
军品工业级(J):-40℃~+85℃
军品扩展工业级(M):-55℃~+85℃
产品应用:
支持甚短距离的高速数据通信连
服务器与存储器阵列的互连
机载雷达
其他光学链接
执行标准:
符合 I 类激光安全标准 IEC-60825
ROHS 2.0

LCC光模块原理框图
产品订购信息表:
| 型号 | 速率 | 波长 | 传输距离 | 光纤类型 | 接口 | 工作温度 |
| DTBRT44-9X8SXJ2 | 10.3125Gbps | 850nm | - | 多模 | 可定制 | -40℃~+85℃ |
| DTBRT44-9X8SXM2 | 10.3125Gbps | 850nm | - | 多模 | 可定制 | -55℃~+85℃ |
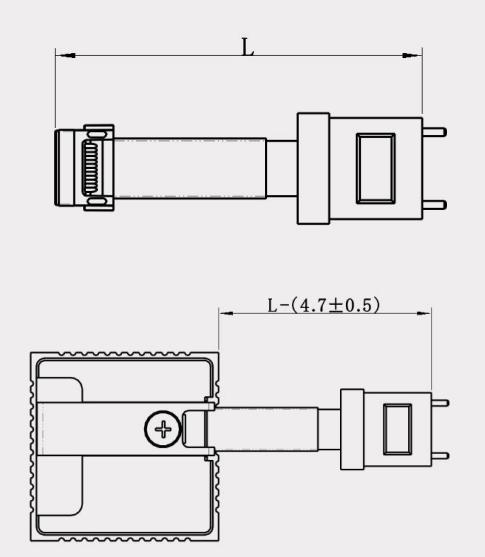
模块尺寸(单位为毫米,未标注公差为±0.2mm)

螭虎架构LCC模块尾纤装配(尾纤末端接口形式可定制,标准品为 MT 接口)
(1) 模块尾纤可在将模块本体正确安装好后再装配尾纤,也可以提前装配好尾纤,再将模块安装至主板。 置入模块侧尾纤为专用可插拔 1*12 芯 jumper,如下图黄色部分所示。

模块尾纤参考图
(2) 建议装配顺序如下:
1、将模块本体顶部弹片轻轻下压,随后将尾纤置入,注意 jumper 需要按照图示方向置入,参考下图:

尾纤装配参考图1
2、尾纤置入后,放开顶部弹片,观察光口位置弹片是否正确卡住尾纤 MT 接口。装配好的情况下 弹片约卡在 jumper 接口左右肩部,参考下图。

尾纤装配参考图2
3、尾纤正确卡紧后,在弹片中间拧入螺丝,做好固定,参考下图

尾纤固定螺丝参考图
尾纤装配好之后,剩余尾纤长度 WL=L-(4.7±0.5) mm,参考下图

尾纤尺寸参考
尾纤长度代码表:
| 尾纤长度(mm) | 代码 | 尾纤长度(mm) | 代码 |
| 30 | 0 | 150 | R |
| 50 | A | 160 | S |
| 55 | B | 170 | T |
| 60 | C | 180 | U |
| 65 | D | 190 | V |
| 70 | E | 200 | 2 |
| 75 | F | 300 | 3 |
| 80 | G | 400 | 4 |
| 85 | H | 500 | 5 |
| 90 | J | 600 | 6 |
| 95 | K | 700 | 7 |
| 100 | 1 | 800 | 8 |
| 110 | M | 900 | 9 |
| 120 | N | 1000 | L |
| 130 | P | 1500 | Z |
| 140 | Q | 定制 | Y |
注:
尾纤长度≥50mm 时扁纤、圆纤、散纤可选,带弹簧、带导针可选。
尾纤长度<50mm 时可做扁纤,不带弹簧。
尾纤长度常规公差为±L*5%。
特殊需求另行沟通。





